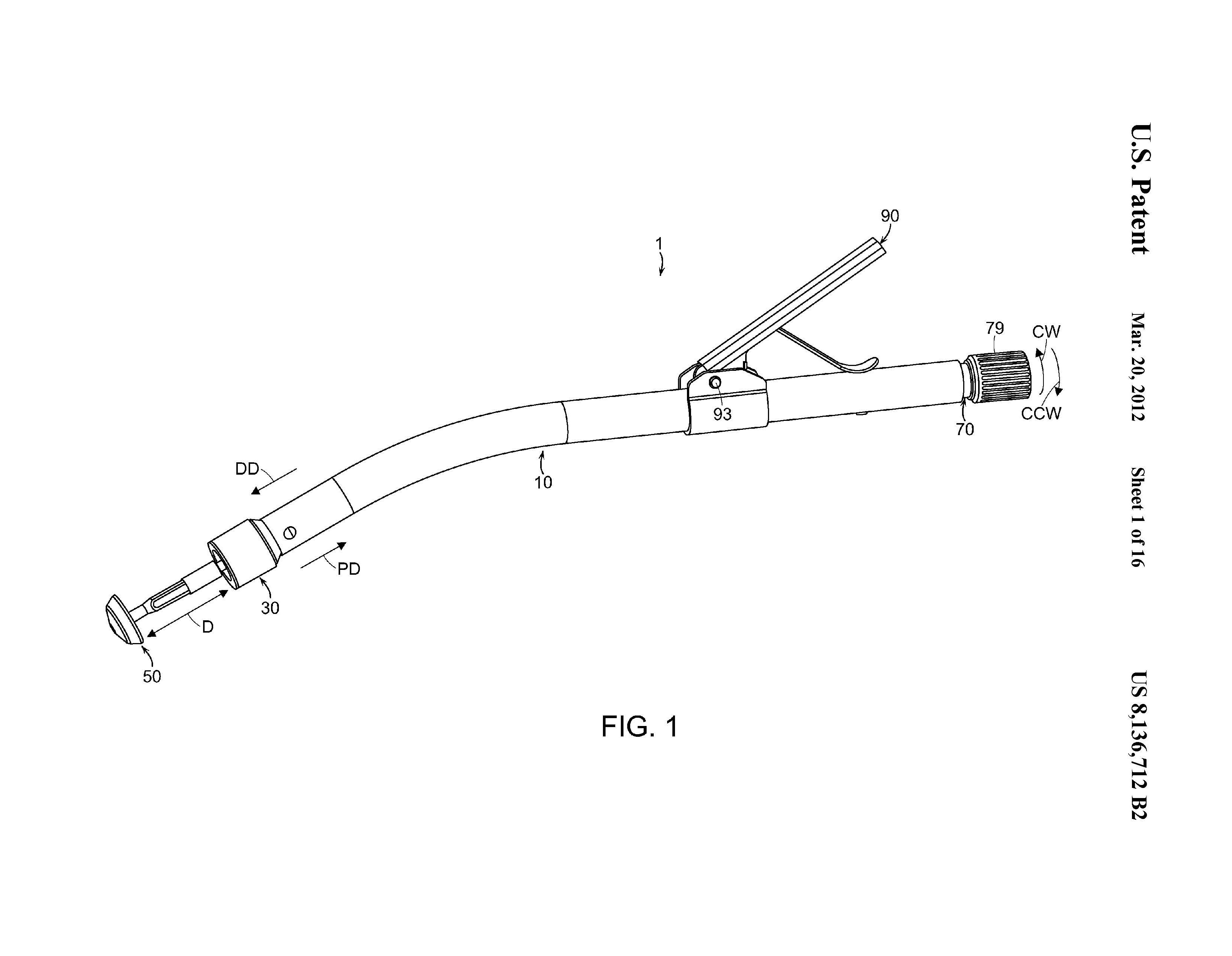
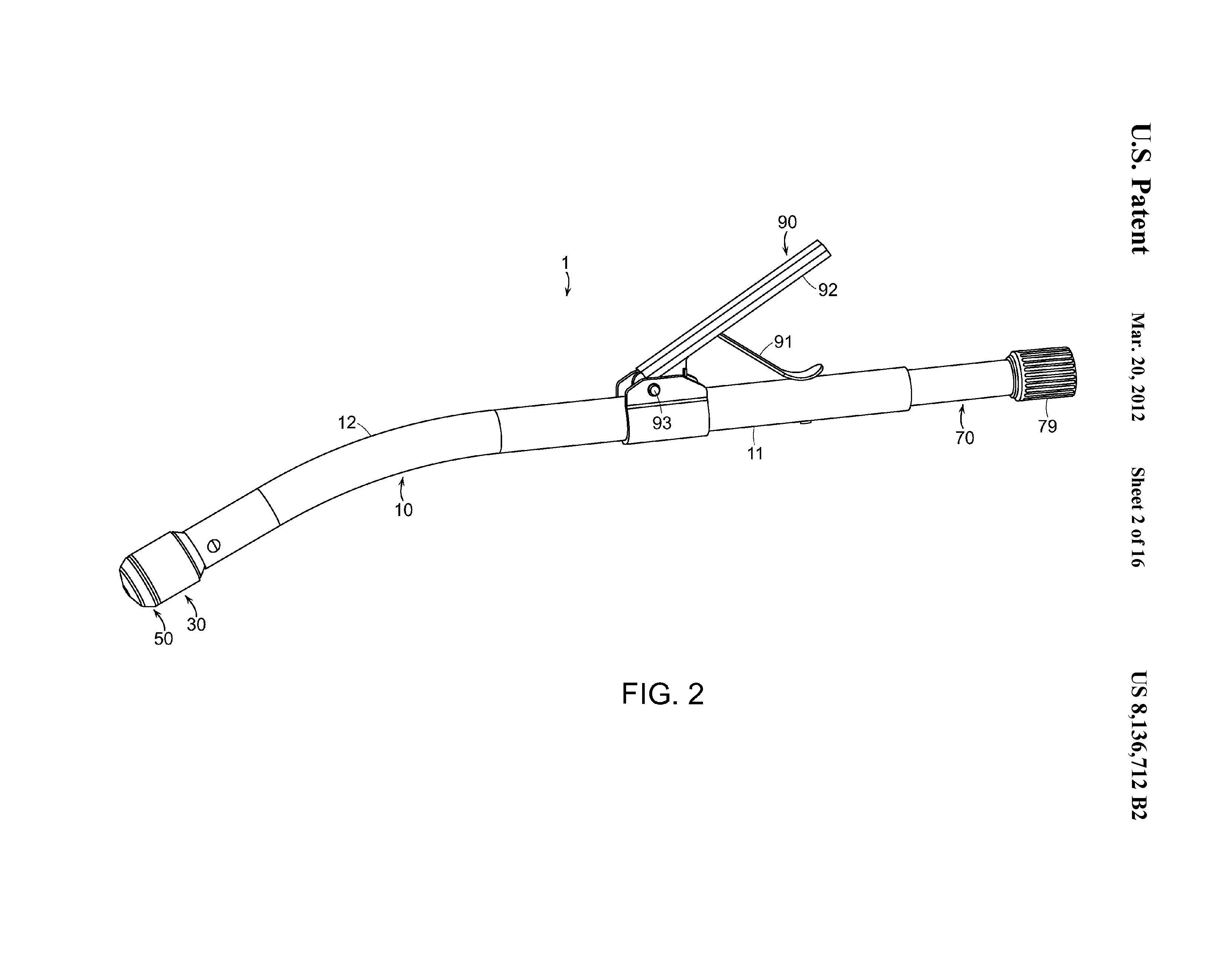
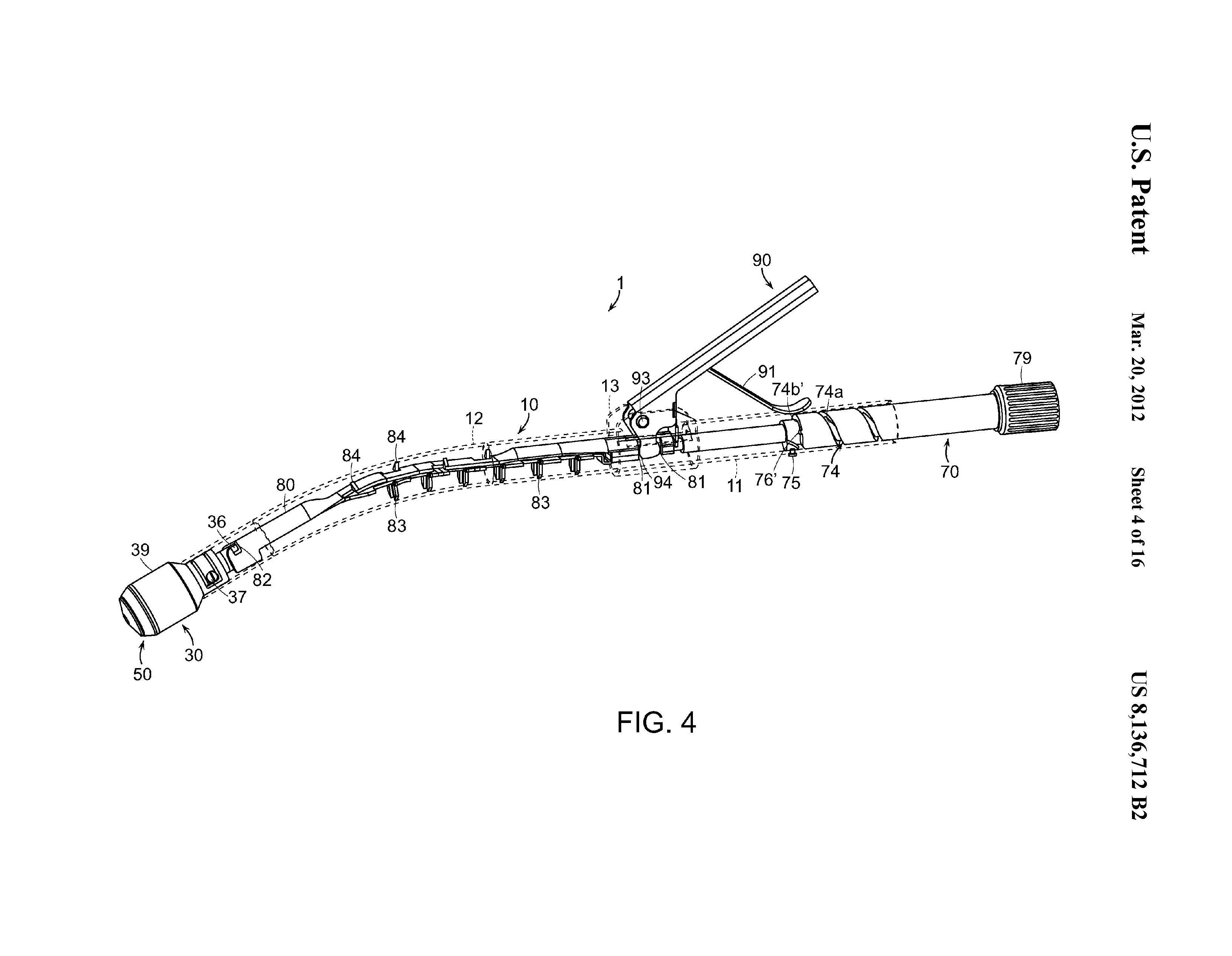
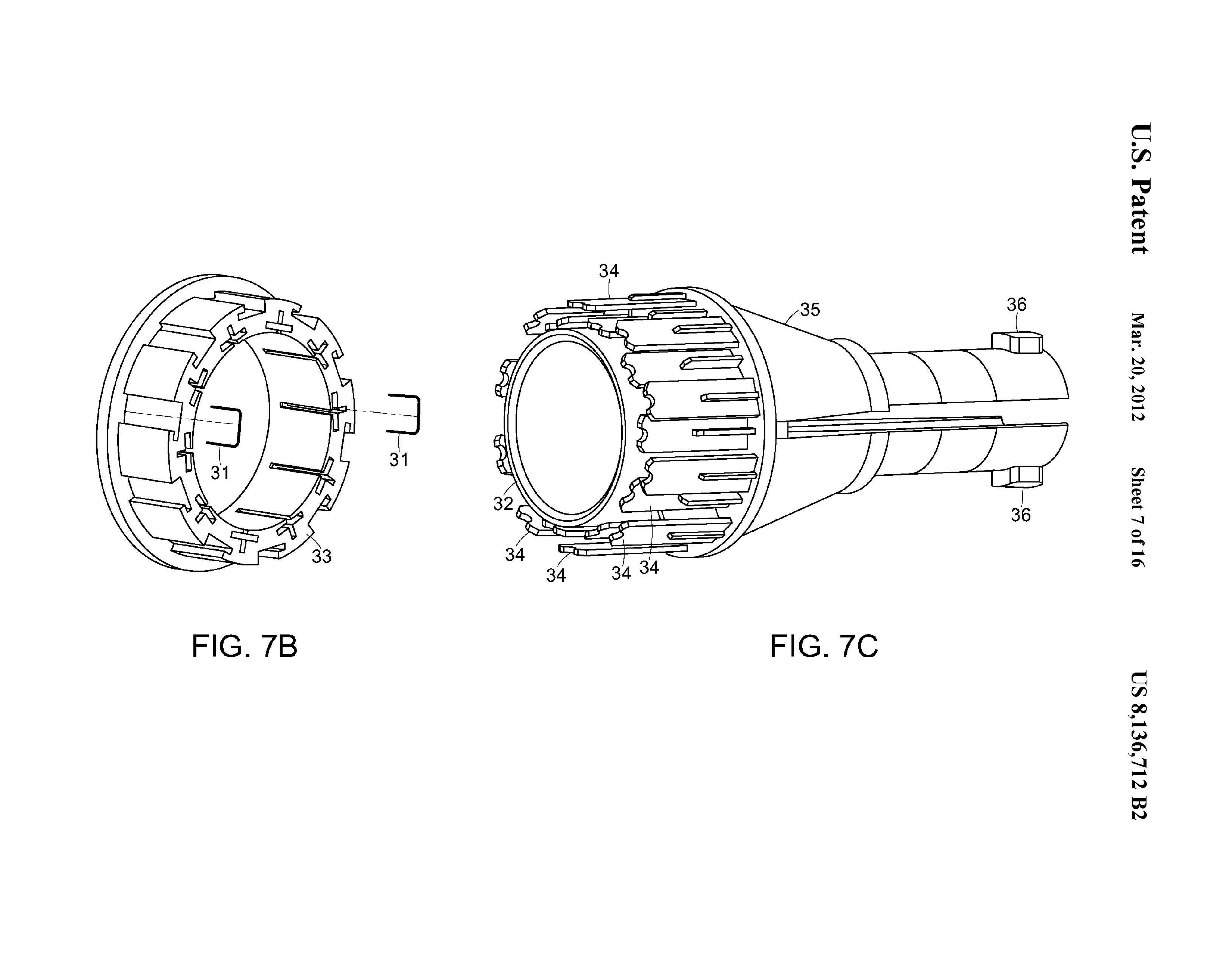
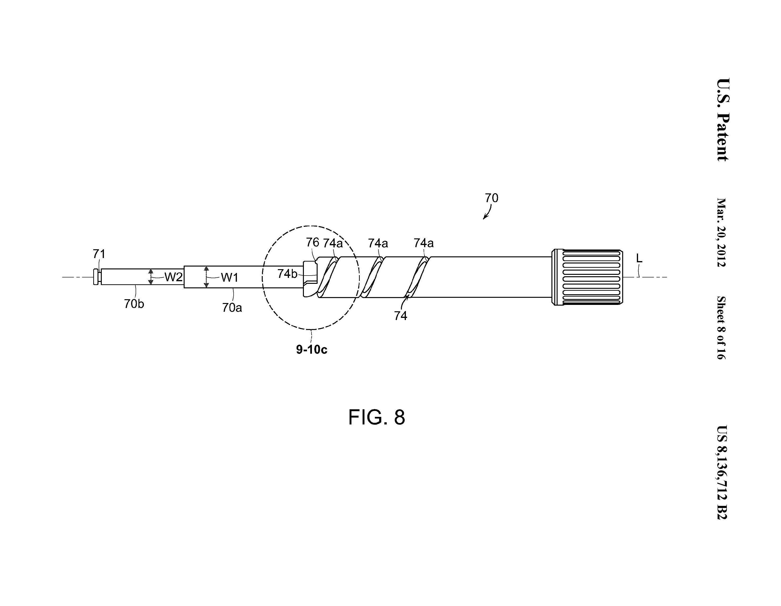
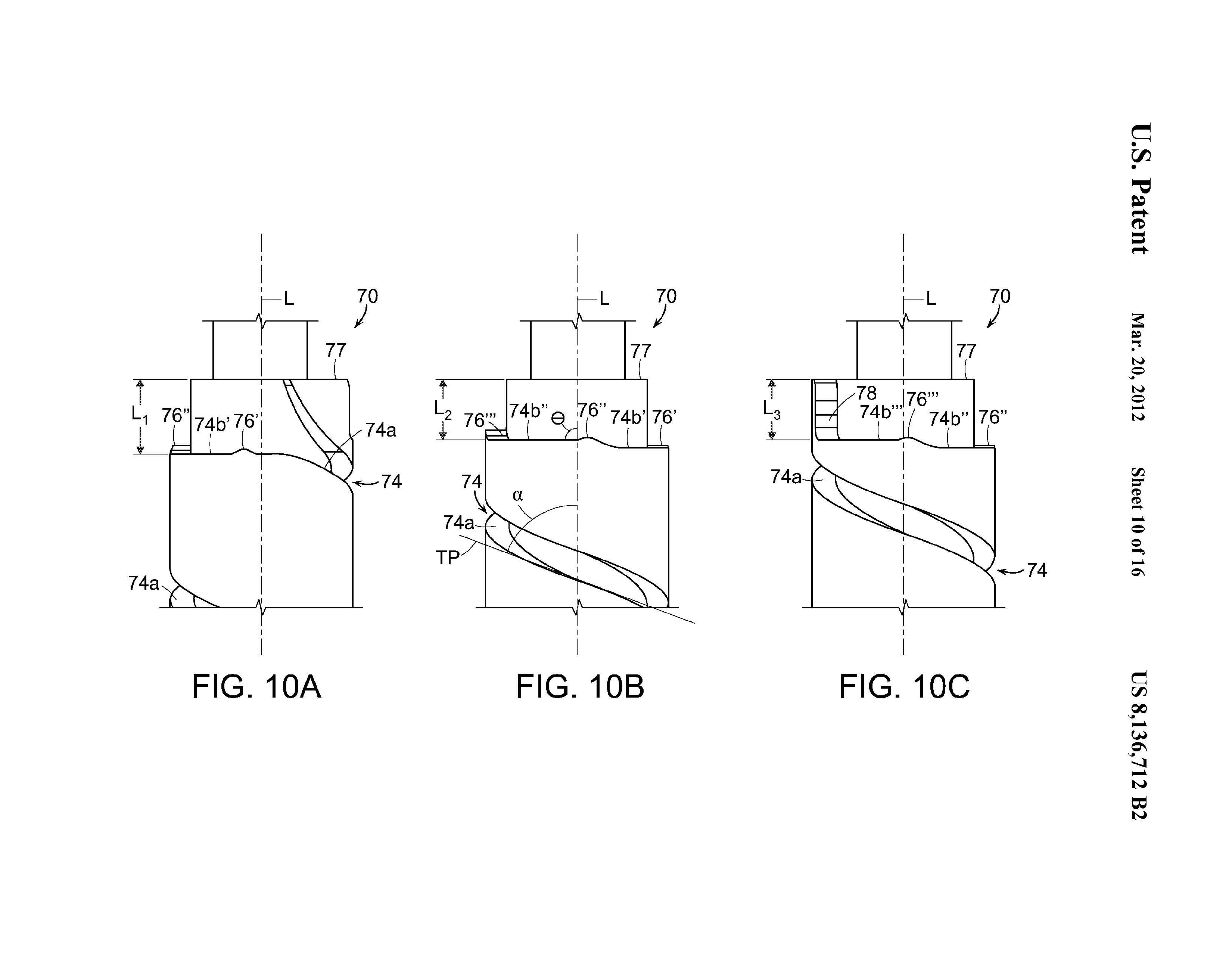
US Patent 8,136,712 Surgical Stapler
Circular staplers allow surgeons to quickly join two lumens (tube-shaped organs), a common step in many GI procedures. Johnson & Johnson’s CDH stapler, a single use, disposable device (image 2), has 34 components in the handle. During one of my projects at J&J, I was tasked with conceptualizing a device with a sterilizable and reusable handle able to accept a disposable stapling head, with the goal of reducing procedure costs in price sensitive markets. I analyzed the current product and reduced components to only ones that moved relative to another component, required a unique material, or were necessary for assembly.
The resulting handle design consists of only 9 all metal components joined into only 5 user facing parts and subassemblies. Instead of requiring approximately 15 minutes to assemble a single use device on a 20+ station assembly line, the reusable 5 part concept can be disassembled and reassembled by one person with no tools in 1 minute. This makes sterilizing the device in a standard autoclave practical. Though greatly simplified, the device incorporates multiple safety lockouts that only allow the device to be actuated in the proper order, retains tissue thickness adjustment, and adds tactile feedback to the staple height adjustment mechanism.
This work led to the issuing of US Patents 8,136,712 and 8,360, 296, for which I am the sole inventor. A third sole inventor US Patent is pending.
















